日期:2025-06-15 13:22:44
科远智慧在互动平台表示天盈资本,公司自主可控DCS、中大型PLC已经可以用于核电的常规岛,核岛目前尚未涉足。
举报 第一财经广告合作,请点击这里此内容为第一财经原创,著作权归第一财经所有。未经第一财经书面授权,不得以任何方式加以使用,包括转载、摘编、复制或建立镜像。第一财经保留追究侵权者法律责任的权利。如需获得授权请联系第一财经版权部:banquan@yicai.com 相关阅读
会稽山盘中大跌8%,黄酒股股价“狂飙”暂止黄酒年轻化还未能给业绩带来明确帮助。
1132 06-03 11:47
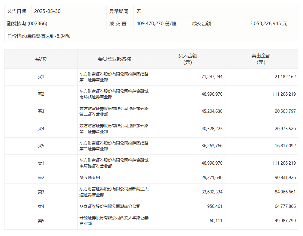
融发核电今日跌停 深股通专用席位买入2927.16万元并卖出9083.19万元天盈资本融发核电今日跌停 深股通专用席位买入2927.16万元并卖出9083.19万元
0 05-30 16:29
宇树回应更名“股份有限公司”:系公司运营方面的常规变更宇树相关负责人向第一财经记者回复称,这是公司运营方面的常规变更。
145 05-29 19:01
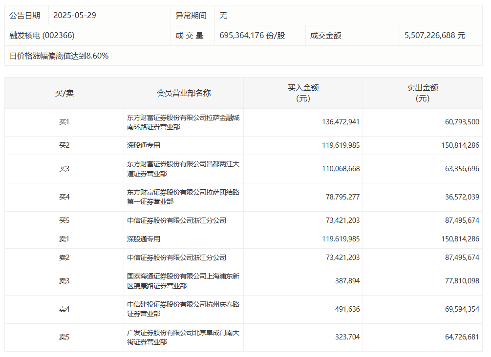
融发核电今日涨停 深股通专用席位买入1.20亿元并卖出1.51亿元融发核电今日涨停 深股通专用席位买入1.20亿元并卖出1.51亿元
0 05-29 16:27
美国将不再建议健康儿童和孕妇常规接种新冠疫苗FDA上周公布了一项未来新冠疫苗加强剂的新监管指南天盈资本,为健康的美国人接种疫苗制定了更严格的审批标准。
331 05-28 16:16 一财最热 点击关闭闻喜策略提示:文章来自网络,不代表本站观点。