日期:2025-08-03 14:08:20
南向资金今日净买入92.53亿港元。其中中国人寿、建设银行、腾讯控股净买入额位列前三秒配网秒配网,分别获净买入11.46亿港元、7.03亿港元、5.98亿港元。净卖出方面秒配网,美团-W、快手-W分别遭净卖出3.63亿港元、0.52亿港元。
举报 第一财经广告合作,请点击这里此内容为第一财经原创,著作权归第一财经所有。未经第一财经书面授权,不得以任何方式加以使用,包括转载、摘编、复制或建立镜像。第一财经保留追究侵权者法律责任的权利。如需获得授权请联系第一财经版权部:banquan@yicai.com 相关阅读
曹操出行赴港上市预计募资超18亿港元曹操出行赴港上市预计募资超18亿港元
67 06-17 09:55
蚂蚁入局港元稳定币,科技巨头、金融机构抢滩加密市场稳定币产业链核心结构是:发行层 → 托管/储备管理层 → 技术支持层 → 钱包/支付接口 → 合规与审计 → 用户入口(C端/B端)。
433 06-15 20:45
HIBOR利率暴跌,港股、港元未来怎么走?随着港元再次逼近弱方7.85,不排除金管局可能会收紧港元流动性,推高利率。
268 06-05 20:46
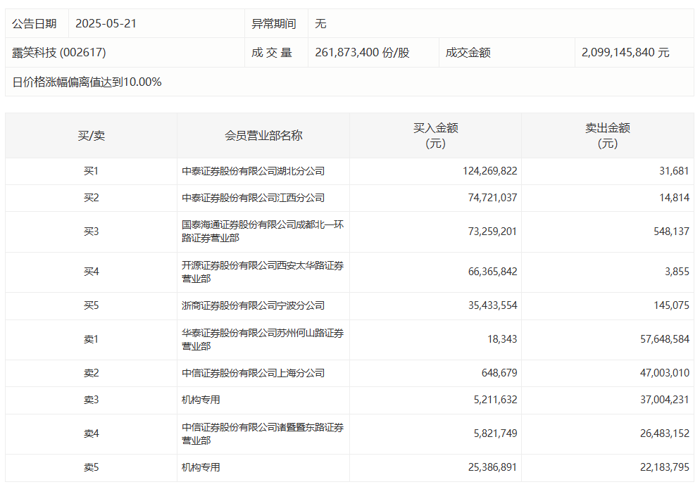
露笑科技涨停,四游资净买入2.17亿元露笑科技涨停,四游资净买入2.17亿元
23 05-21 16:39
香港金管局四天注资逾千亿港元,“股汇”联动背后有何逻辑?港股热浪催生港元"抢购潮"秒配网
271 05-07 18:39 一财最热 点击关闭闻喜策略提示:文章来自网络,不代表本站观点。